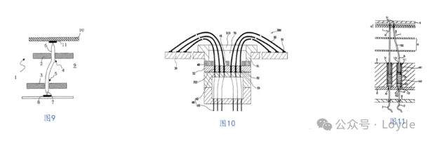
随着芯片性能的日益提升,芯片复杂度越来越高,为了保证出厂的芯片品质,芯片测试环节越来越受到各大厂商的重视。制程不断叠代,微间距(finebitch)要求越来越高,探针卡也因应客户需求叠代出以MEMS工艺制程实现的探针卡,MEMS探针卡较一般探针卡有着体积更小、高针脚数、短针距、高精度等方面的IC测试市场需求。此类探针卡是业内技术含量较高的产品。 探针卡的使用原理是降探针卡上的探针与芯片上的焊垫或者凸块直接接触,导出芯片讯号,再配合周边测试仪器与软件控制达到自动化量测晶圆。它对前期测试的开发及后期量产测试的良率保证都非常重要,是晶圆制造过程中对制造成本影响相当大的重要制程。 探针卡类型按照结构主要可以分为垂直卡、悬臂卡和MEMS卡。目前全球的探针卡市场份额中,超60%左右是被MEMS探针卡所占据。 MEMS探针卡技术与半导体芯片相互配合,即可实现强大且复杂的产品目标。应用领域也主要是存储类芯片,广泛存在于IT、医疗、工业、汽车及消费电子市场。从难度系数上来讲,MEMS卡也是三类中最难的。 ![]() 在测试系统中需要用到一种重要的配件便是测试治具,包含设备连接治具(Docking)、探针台接口板(PIB)、探针卡、KIT、测试座(Socket)等,而其中的核心零部件便是测试探针,占整个测试治具总成本的70%。 测试探针结构分类: 从结构来看,常见的探针类型主要包括弹性探针、悬臂式探针和垂直式探针。 弹性探针 弹性探针由螺旋弹簧两端套接在上下柱栓上,螺旋弹簧中间部分紧密缠绕(防止高频信号产生附加电感和附件电阻),两端部分稀疏缠绕(可形变减少弹簧刚度对测试件的压强),检测集成电路时,信号从下柱栓向上形成导电路径。 示意图如下:图1基本型弹性探针,图2具有辅助弹簧的弹性探针,图3具有双弹簧的弹性探针,图4 单一弹簧弹性探针。 悬臂式探针 悬臂式探针为借由横向悬臂提供探针针部在接触待测半导体产品时适当的纵向位移,以避免探针针部施加于待测半导体产品的针压过大。 ![]() 悬臂针卡常用的针材质:钨(W),铼钨(ReW, 3%R 97%W),铍铜(BeCu),P7(P),钯(Pd),P8合金 ![]() 示意图如下:图5基本型悬臂探针,图6高密度悬臂探针,图7片状悬臂探针,图8防干扰悬臂探针。 ![]() 垂直式探针 垂直式探针可对应高密度信号接点的待测半导体产品的细间距排列,并借由针体本身的弹性变形提供针尖在接触待测半导体产品所需的纵向位移。 示意图如下:图9基本型垂直探针,图10抗形变垂直探针,图11自校正垂直探针。 测试探针材料分类 按照探针材料划分,常见的有钨探针、钹铜探针及钨铼合金探针。 其中,钨铼合金探针接触电阻较稳定,同时兼顾硬度和柔韧性,不容易出现探针偏斜,因此钨铼合金探针是现阶段通用的性能良好的探针. 探针对半导体封测环节的影响 探针是应用在半导体产品测试环节中的重要器件,其品质的优劣对半导体产品的测试效果、生产效率以及生产成本控制都有着重要的影响。 探针产品的品质主要体现在测试频宽、产品尺寸、加工精度、可负载电流、耐久度等方面。 测试探针市场被国外厂商占据: 长期以来,国内探针厂商均处于中低端领域,主要生产PCB测试探针、ICT测试探针等产品。 近年来,伴随着资本运作和技术升级,长电科技、华天科技、通富微电已进入全球封测企业前十强,技术上已基本实现进口替代。同时,以华为、中兴等为代表的公司正加快将订单转移给国内供应商,芯片测试领域也展现了前所未有的繁荣景象。 随着国内半导体产业链国产化替代的需求显现,近些年国内探针厂商开始布局发力半导体测试探针产品。目前,正在向半导体探针市场突围的国内厂商有台易电子(中韩合资)、木王探针、克尔迈斯(qualmax、韩资)、钛辅(台资)、先得利(港资)、和林科技,上海泽丰半导体等厂商。 华为旗下哈勃投资与来自马来西亚的老牌测试探针厂商JF Technology合作,在中国设立合资公司生产测试探针以及测试治具,并在业务方面进行深度绑定。 常用的测试探针是由针头、针管、弹簧这三个组件构成的,测试探针中的弹簧是测试探针使用寿命的关键因素,电镀处理过的弹簧使用寿命高,不会生锈,也能提高测试探针是持久性和导电性。因此,电镀工艺是生产半导体测试探针的主要技术,而国内的电镀工艺尚且有待突破。 测试中针卡常见问题: 针尖氧化:探针在通电的状态下,针尖会发生轻微的氧化现象。而且探针不断与pad接触,针尖会粘有一些铝屑。在测试时需要定时磨针和粘针来清理针尖,磨掉氧化层,去掉针尖的铝屑。一般探针使用寿命测试次数在100万以上,每测试20万次要做基本的保养,对探针卡进行整体清洁,40万次需要针位调整。 烧针:烧针一般是由大电流造成的。针卡设计时,需要关注每组电源的电流情况,尽量避免大电流项目测试,如果探针出现沾污,也可能在测试中发生烧针异常。遇到烧针问题,需要排查探针、针卡、测试程序、测试环境等。 探针电镀铜添加剂: 铜作为探针卡尖端材料的优势在于其良好的导电性能,适用于电学测量应用,并且制造成本相对较低。然而,传统铜材料存在硬度低、易氧化等特点,可能影响其稳定性和使用寿命。因此,开发一种高性能铜电镀液&添加剂来提升其特性是迫切需求。 为解决MEMS探针卡中探针针尖氧化,烧针,寿命等问题,开发出了下记电镀铜以及添加剂,具有以下优势: |









